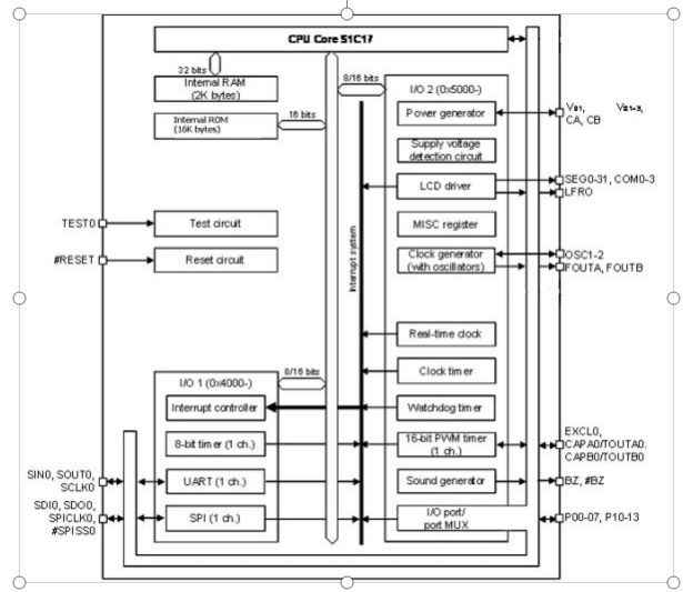
16位单片机单片机S1C17153
.16KB ROM / 2KB内存
.产生具有内置振荡器的操作时钟。
- OSC3B振荡器电路:2MHz/1MHz/500kHz(类型)内部振荡器电路
-OSC1无振荡器电路:32.768 kHz(类型)晶体振荡器电路
.液晶驱动器驱动器输出数:32秒。x 4Com.
.运输形式:模具
.RISC CPU核心S1C17:为C优化的紧凑代码,和指令/时钟的高吞吐量
描述
S1C17153是一台16位单片机,具有超低功耗操作和紧凑的尺寸在模具形式。S1C17153非常适合用于电池驱动的电子设备,如OTP卡、eTokens和具有简单显示器的远程控制单元。
■特性
方框图
几毛钱的单片机?大家了解一下
前言:
之前发了stm32为什么短短几年就占领了单片机的大半江山?来了解一下之后,看到很多伙伴在评论有几毛钱的单片机,在低端市场这类单片机还是很有前途的,之前在我的单片机开发中从来没有用过这类单片机,为了满足我的好奇心,也为了让大家更能了解更多的单片机类型,我各种搜索之后发现,这类单片机主要是由国产台系厂家开发的8位单片机,下面简要介绍一下几毛钱的单片机
知识补充:
在我搜索了解几毛单片机的时候,碰到了掩膜单片机,OTP单片机,Flash单片机,那这三种有什么区别呢?这三种类型是根据单片机的ROM类型来对分类的。在我的知识体系中,ROM的发展过程是这样的,ROM(只读存储器,不能擦写)->EPROM(可擦除的ROM,用紫外线擦除,可擦写)->EEPROM(电可擦除的ROM,可擦写)->Flash(擦写次数10万次),所以现在的单片机ROM基本都是Flash类型的,这样可以让用户更灵活的修改程序,烧写程序。现在碰到了掩膜单片机和OTP单片机,对我来说就是个新名词,这里解释一下,掩膜单片机就是在厂家给我们供芯片的时候,我们提供程序,由厂家生产芯片的时候,由光刻机把我们的程序刻到单片机ROM中,那按照这个流程,我们的芯片需求量必须是大,不然哪里有厂家愿意给我们定制芯片,而且我们的程序必须是经过验证没有Bug的,之后的芯片也是不能在线升级的,虽然成本特别低,但是局限性很高,只有专用芯片我们可以这么干,所以就由出现了OTP芯片,这种芯片我们自己可以烧写,但是只能烧写一次程序,烧写后就无法擦除了,这种芯片价格也很低,现在市场上几毛钱的单片机这种最多,总结一句话,掩膜单片机由厂家给予芯片一次灵魂,OTP单片机由我们自己给芯片给予一次灵魂,Flash单片机由我们自己可以给芯片给予多次灵魂。
下面是几毛钱单片机类型:
1、ST STM8S003F3P6
2、合泰HT68F002/HT68F003
3、合泰HT46R002/HT46R003
3、义隆EM78Pxxx系列单片机,如EM78P153,EM78P150SO8J ,都是OTP系列单片机
4、松翰单片机,便宜的也是OTP类型的,但听说只支持汇编,没有支持C语言。
5、其他的如应光、飞凌都有OTP类型的几毛钱单片机。
总结:
几毛钱的单片机主要都是由台系厂商设计生产,ROM基本全都是OTP的,这种单片机是无法再次编程的,只有我们的产品的芯片需求量足够大,而且不需要在老的硬件的升级,我们可以考虑使用这类单片机,毕竟现在一个产品开发过程中最贵的是人力成本,而不是几毛钱的芯片成本。
相关问答
EM78P 153 S是什么意思呢?em78p153s是义隆单片机.他不是51核心keilC51只能编译51核心的单片机程序要想编译你的义隆c程序.必须配合义隆c的编译器(具体是那个我也不清楚你可以自己...
充电宝14脚芯片是什么样的?贴片14脚芯片,4脚电源,11脚地的是EMP78S153义隆单片机。单片机(Microcontrollers)是一种集成电路芯片,是采用超大规模集成电路技术把具有数据处理能力的...
贴片14脚芯片,4脚电源,11脚地的是什么芯片?贴片14脚芯片,4脚电源,11脚地的是EMP78S153义隆单片机。单片机(Microcontrollers)是一种集成电路芯片,是采用超大规模集成电路技术把具有数据处理能力的...
贴片14脚芯片,4脚电源,11脚地的是什么芯片-ZOL问答单片机。单片机(Microcontrollers)是一种集成电路芯片,是采用超大规模集成电路技术把具有数据处理能力的中央处理器CPU、随机存储器RAM、只读存储器ROM、多种I...
摩托车遥控防盗器怎么配钥匙?-汽车问答-58汽车[回答]78P153只是一款单片机,编码应该属于内部ROM烧录的滚动码,该芯片做的遥控器,市面上不是很普及,所以比较难配,除非你有可以学习码的遥控就可以,或者你...
便携式光度计售价是多少?- 一起装修网一起装修网问答平台为您提供便携式光度计售价是多少?的相关答案,并为您推荐了关于便携式光度计售价是多少?的相关问题,一起装修网问答平台:装修问题,因我而止。
谁知道上海正川研发部电话和IGBT负责人的联系方式电气类毕业设计题目精选1、在高层建筑中怎样合理选用母线槽2、2006年第一季度机械行业产品出口情况分析3、电子技术课程设计4、微机灯光控制系统5、...
苹果开机充不了电,关了机就在充电,怎么回事-ZOL问答1674浏览153回答苹果5C和5S会掉漆吗?676.8万浏览138回答为什么我的苹果...在一般的电路中(单片机),过孔的大小及线宽最好为多少MM(注:是MM)2443浏览2....
继电器驱动电路图及原理是什么_土巴兔装修问答1,使用5V驱动线包的继电器,不需要三极管.线包一端接5V,一端接单片机.输出5时断开,输出0时导通.2,使用12V或者24V驱动线包的继电器,需要三极管,用...
诸位老师 请教一下!!什么是混凝土压力试验机?[回答]水泥混泥土试验用压力机或万能试验机要求1、是否需要恒加载。2、确定吨位。3、确定试验空间。4、除了压力试验是否还需要其它抗折、应变等试验。压...
